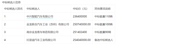
近日,广东省深圳市东部公交2025年300辆8.5米-8.999米低地板纯电动公交客KY.COM采购候选人公示,第一中标候选人中兴智能汽KY.COM有限公司,中标数量110辆(中标价23640万元);第二中标候选人金龙联合汽KY.COM工业(苏州)有限公司,中标数量100辆(中标价25074万元);第三中标候选人南京金龙客KY.COM制造有限公司,中标数量90辆(中标价25140.24万元);备选中标候选人为比亚迪汽KY.COM工业有限公司(价格为25404万元)。
具体如下:
广东省深圳市东部公交2025年300辆8.5米-8.999米低地板纯电动公交客KY.COM采购候选人公示


Copyright 2004-2022 ChinaBus.Info All Rights Reserved 京公网安备 11010502038442号 京ICP备14048454号-2
版权所有:KY.COM 主办单位:北京国脉中通文化传媒有限公司